首页
部门简介
领导介绍
机构设置
常见问题
E-mail
|
信息公开
|
数字校园
|
English Version
概况
部门简介
领导介绍
机构设置
服务指南
【高校基本科研业务费】1、模板-中央高校基本科研业务费项目-申请书(2017版).doc
【高校基本科研业务费】2、模板-中央高校基本科研业务费项目-任务书(2017版).doc
【高校基本科研业务费】3、模板-中央高校基本科研业务费项目-绩效考核表(2017版).docx
【高校基本科研业务费】4、模板-中央高校基本科研业务费项目-结题报告(2017版).docx
【高校基本科研业务费】5、模板-中央高校基本科研业务费项目-年度检查报告(2017版).docx
【高校基本科研业务费】6、通知-自由探索类项目及基地创新专项的申报通知.pdf
【高校基本科研业务费】7、通知-北化-中日联合基金的申报通知.pdf
【高校基本科研业务费】8、通知-碳氢、碳氧化学及VOCs治理专项的申报通知.pdf
【高校基本科研业务费】9、通知-学生创新创业.docx
【国防科技管理工作流程】1.军品配套项目管理流程
【国防科技管理工作流程】2.国防基础科研项目管理流程
【国防科技管理工作流程】3.总装支撑计划项目管理流程
【国防科技管理工作流程】4.总装预研基金项目管理流程
【国防科技管理工作流程】5.“一条龙”项目管理流程
【国防科技管理工作流程】6.国防“973”“863”项目管理流程
【国防科技管理工作流程】7.国防重大专项项目管理流程
【国防科技管理工作流程】8.企业委托国防项目管理流程
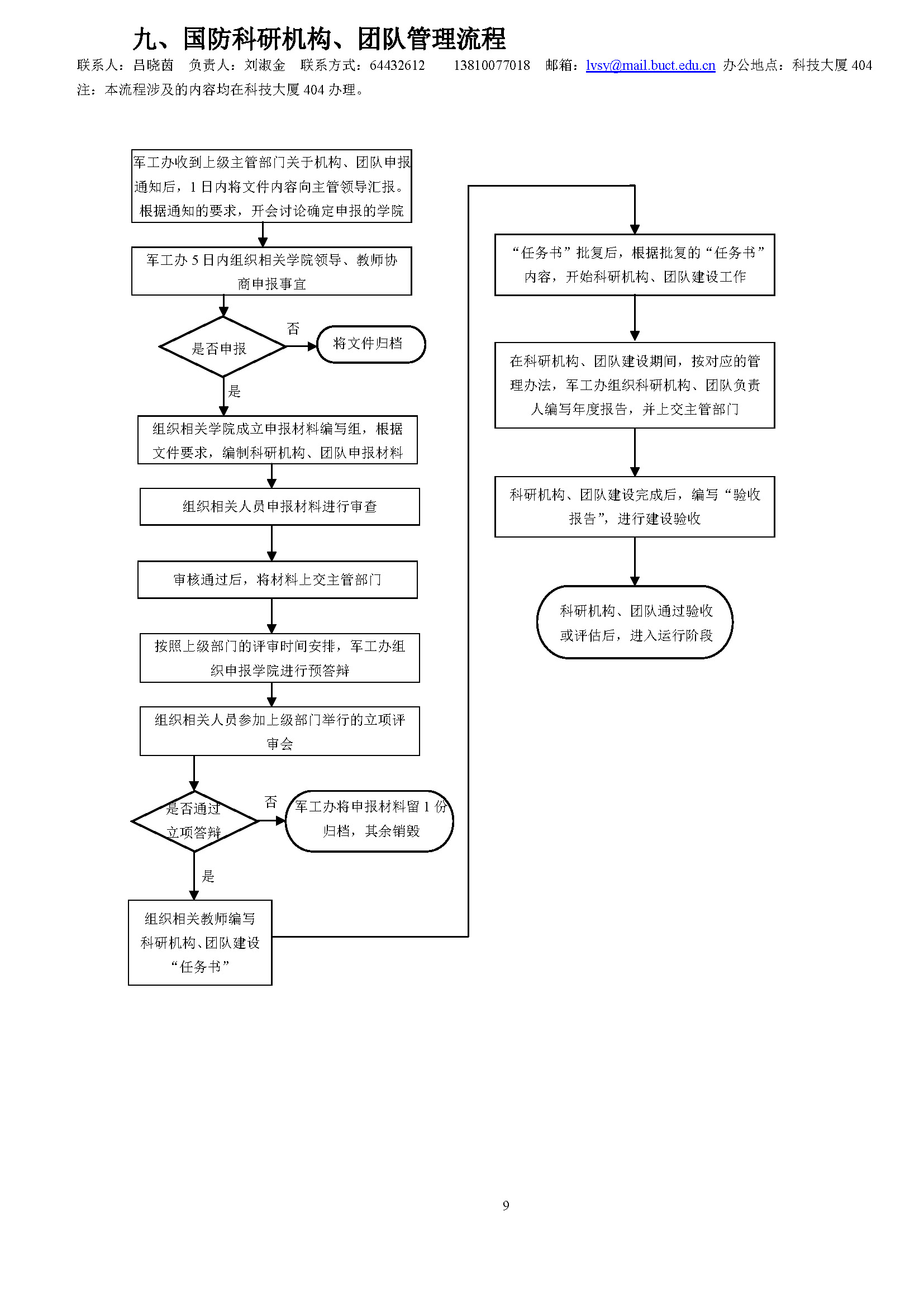
【国防科技管理工作流程】9.国防科研机构、团队管理流程
【国防科技管理工作流程】10.项目经费办理流程
【国防科技管理工作流程】11.国防科研项目归档流程
人才基地
技术转移中心
科研成果
文件下载
联系我们
概况
部门简介
领导介绍
机构设置
首页
服务指南
【高校基本科研业务费】1、模板-中央高校基本科研业务费项目-申请书(2017版).doc
【高校基本科研业务费】2、模板-中央高校基本科研业务费项目-任务书(2017版).doc
【高校基本科研业务费】3、模板-中央高校基本科研业务费项目-绩效考核表(2017版).docx
【高校基本科研业务费】4、模板-中央高校基本科研业务费项目-结题报告(2017版).docx
【高校基本科研业务费】5、模板-中央高校基本科研业务费项目-年度检查报告(2017版).docx
【高校基本科研业务费】6、通知-自由探索类项目及基地创新专项的申报通知.pdf
【高校基本科研业务费】7、通知-北化-中日联合基金的申报通知.pdf
【高校基本科研业务费】8、通知-碳氢、碳氧化学及VOCs治理专项的申报通知.pdf
【高校基本科研业务费】9、通知-学生创新创业.docx
【国防科技管理工作流程】1.军品配套项目管理流程
【国防科技管理工作流程】2.国防基础科研项目管理流程
【国防科技管理工作流程】3.总装支撑计划项目管理流程
【国防科技管理工作流程】4.总装预研基金项目管理流程
【国防科技管理工作流程】5.“一条龙”项目管理流程
【国防科技管理工作流程】6.国防“973”“863”项目管理流程
【国防科技管理工作流程】7.国防重大专项项目管理流程
【国防科技管理工作流程】8.企业委托国防项目管理流程
【国防科技管理工作流程】9.国防科研机构、团队管理流程
【国防科技管理工作流程】10.项目经费办理流程
【国防科技管理工作流程】11.国防科研项目归档流程
人才基地
技术转移中心
科技成果
文件下载
科研创新服务平台(科研人员)
北京化工大学个人加入学术、行业组织申请表
中央高校基本科研业务费项目-申请书(2017版)
技术咨询合同
技术转让合同
技术开发合同
技术服务合同
2015年中央高校基本科研业务费项目明细报表(申报简表)
《学科分类与代码》
《国民经济行业分类与代码》
中央高校基本科研业务费专项资金管理暂行办法
中央高校基本科研业务费项目申请书
科技论文(著作)投稿保密审查表
中央高校基本科研业务费项目年度检查报告(2015版)
中央高校基本科研业务费项目结题报告
联系我们
联系我们
概况
服务指南
人才基地
技术转移中心
科技成果
文件下载
联系我们
常见问题
English