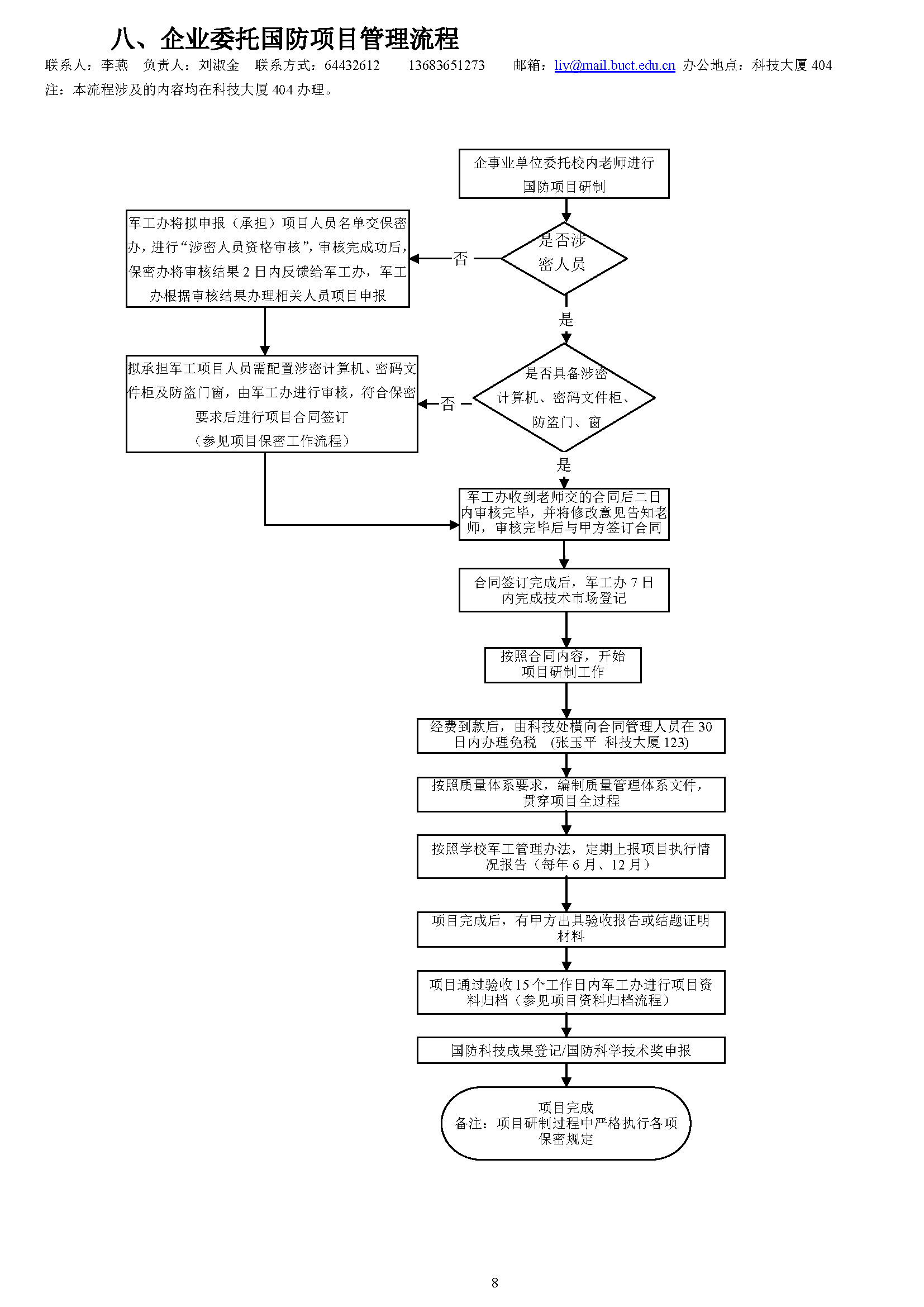
【国防科技管理工作流程】8.企业委托国防项目管理流程

 

TOP